
埃克森美孚推出自动投票机制,应对股东维权行动
...
亿通平台 2025-09-16 18
铜价创15个月高位 降息乐观情绪升温
...
亿通平台 2025-09-16 19

加拿大人工智能公司Cohere设巴黎办公室,瞄准欧洲市场增长
...
亿通平台 2025-09-16 18
直通部委|8月份房价同比降幅总体继续收窄 四部门将持续遏制“天价”月饼
统计局:前8个月国内主要生产需求指标保持平稳增长 9月15日,国家统计局新闻发言人付凌...
亿通平台 2025-09-15 18
9月15日增减持汇总:上海医药等4股增持 君正集团等33股减持(表)
...
亿通平台 2025-09-15 17

特朗普称不应要求企业按季度提交财报
...
亿通平台 2025-09-15 21

极氪股东高票通过与吉利汽车的合并协议,将成后者全资子公司
...
亿通平台 2025-09-15 20
数读卫浴制品半年报 | 箭牌家居业绩领跑只是“纸面富贵”? 惠达卫浴应收账款、存货周转天数双高
...
亿通平台 2025-09-15 21
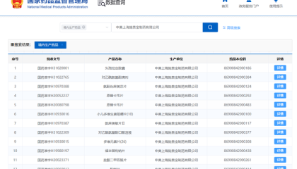
百时美施贵宝出售首家中美合资药企股份
界面新闻记者 | 黄华界面新闻编辑 | 谢欣 9月15日,界面新闻记者从百时美施贵宝...
亿通平台 2025-09-15 22
暇步士在这家上市公司的帮助下在中国重新起步
界面新闻记者 | 朱咏玲界面新闻编辑 | 楼婍沁 被嘉曼服饰接手一年多后,美式休...
亿通平台 2025-09-15 21